回转轴承制造商专家
0516-8772 6238, 189 5222 7981,189 5222 7035,180 5191 5377
回转轴承制造商专家
0516-8772 6238, 189 5222 7981,189 5222 7035,180 5191 5377
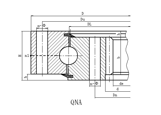
单列四点接触球回转支承由两个座环组成,结构紧凑,重量轻,钢球在四点与圆形滚道接触,可同时承受轴向力、径向力和倾斜力矩。
可用于回转输送机、焊接机械手、轻中型起重机、挖掘机等工程机械。


1.n1是润滑孔的数量。油杯M10×1JB/T7940.1~JB/T7942.2。油嘴的位置可以根据用户的应用而改变。
2.n-φ可以改为螺纹孔,螺纹孔直径为M,深度为2M。
3.表中的切向齿力为更大齿力,标称切向齿作用力为更大齿作用力的1/2。
4.“K”是齿顶减缩系数。
| 序号 | 型号 | 安装孔尺寸 | 结构 尺寸 | 齿轮参数 | |||||||||||||
| 内齿式 | H | Du | Dn | n | 通孔A | 螺孔B/C/D | n1油杯 数量 | h | B | m | 内齿式x=+0.5 | ||||||
| de | 齿数z | 重量 | |||||||||||||||
| D | d | φ | d1 | T | |||||||||||||
| mm | mm | mm | mm | kg | |||||||||||||
| 1 | QN.315.20 | 408 | 224 | 60 | 370 | 260 | 10 | 17 | M16 | 24 | 2 | 10 | 40 | 3 | 207 | 70 | 34 |
| QN.315.20A | 4 | 200 | 51 | 35 | |||||||||||||
| 2 | QN.355.20 | 448 | 264 | 60 | 410 | 300 | 10 | 17 | M16 | 24 | 2 | 10 | 40 | 3 | 246 | 84 | 39 |
| QN.355.20A | 4 | 240 | 61 | 40 | |||||||||||||
| 3 | QN.400.20 | 493 | 310 | 60 | 455 | 345 | 12 | 17 | M16 | 24 | 2 | 10 | 40 | 4 | 288 | 73 | 44 |
| QN.400.20A | 5 | 280 | 57 | 46 | |||||||||||||
| 4 | QN.450.20 | 543 | 360 | 60 | 505 | 395 | 12 | 17 | M16 | 24 | 2 | 10 | 40 | 4 | 336 | 85 | 50 |
| QN.450.20A | 5 | 330 | 67 | 52 | |||||||||||||
| 5 | QN.500.20 | 593 | 410 | 60 | 555 | 445 | 14 | 17 | M16 | 24 | 2 | 10 | 40 | 5 | 385 | 78 | 55 |
| QN.500.20A | 6 | 378 | 64 | 57 | |||||||||||||
| 6 | QN.560.20 | 656 | 468 | 70 | 618 | 502 | 14 | 17 | M16 | 30 | 2 | 10 | 50 | 4 | 440 | 111 | 76 |
| QN.560.20A | 5 | 435 | 88 | 77 | |||||||||||||
| 7 | QN.630.20 | 726 | 538 | 70 | 688 | 572 | 16 | 17 | M16 | 30 | 2 | 10 | 50 | 4 | 512 | 129 | 84 |
| QN.630.20A | 5 | 505 | 102 | 86 | |||||||||||||
| 8 | QN.710.20 | 806 | 618 | 70 | 768 | 652 | 18 | 17 | M16 | 30 | 2 | 10 | 50 | 5 | 585 | 118 | 97 |
| QN.710.20A | 6 | 582 | 98 | 97 | |||||||||||||
| 9 | QN.800.20 | 896 | 708 | 70 | 858 | 742 | 20 | 17 | M16 | 30 | 2 | 10 | 50 | 6 | 672 | 113 | 110 |
| QN.800.20A | 8 | 664 | 84 | 111 | |||||||||||||
| 10 | QN.800.25 | 908 | 694 | 78 | 864 | 736 | 18 | 22 | M20 | 36 | 2 | 10 | 58 | 6 | 654 | 110 | 142 |
| QN.800.25A | 8 | 648 | 82 | 142 | |||||||||||||
| 11 | QN.900.25 | 1008 | 794 | 78 | 964 | 836 | 20 | 22 | M20 | 36 | 2 | 10 | 58 | 8 | 744 | 94 | 163 |
| QN.900.25A | 10 | 740 | 75 | 162 | |||||||||||||
| 12 | QN.1000.25 | 1108 | 894 | 78 | 1064 | 936 | 24 | 22 | M20 | 36 | 2 | 10 | 58 | 8 | 848 | 107 | 178 |
| QN.1000.25A | 10 | 840 | 85 | 179 | |||||||||||||
| 13 | QN.1000.32 | 1124 | 880 | 90 | 1074 | 926 | 24 | 24 | M22 | 40 | 2 | 10 | 70 | 8 | 832 | 105 | 230 |
| QN.1000.32A | 10 | 830 | 84 | 227 | |||||||||||||
| 14 | QN.1120.32 | 1244 | 1000 | 90 | 1194 | 1046 | 28 | 24 | M22 | 40 | 4 | 10 | 70 | 10 | 940 | 95 | 263 |
| QN.1120.32A | 12 | 936 | 79 | 262 | |||||||||||||
| 15 | QN.1250.32 | 1374 | 1130 | 90 | 1324 | 1176 | 32 | 24 | M22 | 40 | 4 | 10 | 70 | 10 | 1070 | 108 | 294 |
| QN.1250.32A | 12 | 1068 | 90 | 290 | |||||||||||||
| 16 | QN.1400.32 | 1524 | 1280 | 90 | 1474 | 1326 | 36 | 24 | M22 | 40 | 4 | 10 | 70 | 12 | 1212 | 102 | 333 |
| QN.1400.32A | 14 | 1204 | 87 | 336 | |||||||||||||
| 17 | QN.1250.40 | 1394 | 1110 | 102 | 1336 | 1164 | 32 | 26 | M24 | 45 | 4 | 12 | 80 | 10 | 1050 | 106 | 388 |
| QN.1250.40A | 12 | 1044 | 88 | 388 | |||||||||||||
| 18 | QN.1400.40 | 1544 | 1260 | 102 | 1486 | 1314 | 36 | 26 | M24 | 45 | 4 | 12 | 80 | 12 | 1188 | 100 | 444 |
| QN.1400.40A | 14 | 1190 | 86 | 434 | |||||||||||||
| 19 | QN.1600.40 | 1744 | 1460 | 102 | 1686 | 1514 | 40 | 26 | M24 | 45 | 4 | 12 | 80 | 12 | 1392 | 117 | 509 |
| QN.1600.40A | 14 | 1386 | 100 | 511 | |||||||||||||
| 20 | QN.1800.40 | 1944 | 1660 | 102 | 1886 | 1714 | 44 | 26 | M24 | 45 | 4 | 12 | 80 | 14 | 1582 | 114 | 576 |
| QN.1800.40A | 16 | 1568 | 99 | 591 | |||||||||||||
| 21 | QN.1600.50 | 1766 | 1438 | 124 | 1704 | 1496 | 40 | 30 | M27 | 50 | 4 | 12 | 100 | 12 | 1368 | 115 | 714 |
| QN.1600.50A | 14 | 1358 | 98 | 723 | |||||||||||||
| 22 | QN.1800.50 | 1966 | 1638 | 124 | 1904 | 1696 | 44 | 30 | M27 | 50 | 4 | 12 | 100 | 14 | 1568 | 113 | 794 |
| QN.1800.50A | 16 | 1552 | 98 | 818 | |||||||||||||
| 23 | QN.2000.50 | 2166 | 1842 | 124 | 2104 | 1896 | 48 | 30 | M27 | 50 | 6 | 12 | 100 | 16 | 1760 | 111 | 891 |
| QN.2000.50A | 18 | 1746 | 98 | 913 | |||||||||||||
| 24 | QN.2240.50 | 2406 | 2078 | 124 | 2344 | 2136 | 54 | 30 | M27 | 50 | 6 | 12 | 100 | 16 | 1984 | 125 | 1044 |
| QN.2240.50A | 18 | 1980 | 111 | 1041 | |||||||||||||
| 25 | QN.2500.50 | 2666 | 2342 | 124 | 2604 | 2396 | 60 | 30 | M27 | 50 | 6 | 12 | 100 | 18 | 2250 | 126 | 1132 |
| QN.2500.50A | 20 | 2240 | 113 | 1148 | |||||||||||||
| 26 | QN.2500.60 | 2696 | 2308 | 150 | 2626 | 2374 | 60 | 33 | M30 | 56 | 6 | 14 | 122 | 18 | 2214 | 124 | 1621 |
| QN.2500.60A | 20 | 2200 | 111 | 1654 | |||||||||||||